Yapay Rahim Teknolojisi ve Ektogenez Nedir? Yapay Rahim Teknolojisinin Uygulama Alanları Nelerdir?
Yapay Rahim Teknolojisi Nesli Tehlike Altındaki Türleri Kurtarabilir mi?

Bu Makalede Neler Öğreneceksiniz?
- Describe artificial womb technology as an innovative solution supporting natural reproduction, mimicking pregnancy, and aiding infertile individuals and endangered species conservation.
- Explain ectogenesis as the development of a fetus partially or fully outside the human body using artificial wombs or external gestation devices.
- Define synthetic embryos as lab-created embryos from stem cells without traditional fertilization, used for developmental research and cellular therapies.
Üreme sağlığı, insan hayatının devamlılığını sağlayan temel bir biyolojik süreçtir ve bu süreçte çeşitli zorluklar meydana gelebilmektedir. Bu konuda karşılaşılan zorluklarınsa yapay rahim teknolojisi (İng: "artificial womb technology") gibi inovatif teknolojilerle aşılması planlanmaktadır. Yapay rahim teknolojisi; doğal üreme sürecini desteklemek, gebeliği taklit etmek veya infertilite sorunları yaşayan bireylere alternatif çözüm yolları sunabilmek amacıyla tasarlanmıştır. Ayrıca bu teknoloji, özellikle kritik olarak tehlike altındaki türlerin korunmasında ve popülasyonlarını artırmada da kullanılabilmektedir. Yapay rahim teknolojisi; embriyonun gelişimini destekleme, döllenmiş yumurtayı taşıma veya rahmin fonksiyonlarını geçici olarak yerine getirme gibi çeşitli görevleri beraberinde üstlenebilmektedir.
Bu makalede ektogenez, sentetik embriyolar, yapay rahim teknolojisi, bu teknolojinin uygulama alanları ve yapay rahim uygulamaları gibi konular ele alınacaktır.
Ektogenez Nedir?
Ektogenez (İng: "ectogenesis"), bir fetüsün insan vücudu dışında tam veya kısmi olarak geliştirilmesini açıklamak amacıyla kullanılan bir terimdir. Bu süreç, geleneksel gebelik koşullarından farklıdır ve fetüsün rahim dışında bir ortamda geliştirilmesini ifade etmektedir. Süreç teknik olarak suni bir uterus veya döllenmiş yumurtanın dış bir ortamda oluşturulması yoluyla gerçekleştirilmektedir. Ayrıca ektogenez sürecinde fetüs, vücut dışındaki bir ortamda geliştiği için yapay rahim teknolojisi veya dış gebelik cihazlarının kullanımını da içerisinde alan bir süreç olma özelliğini de taşımaktadır.[1]
Jinekoloji ve obstetri alanında patolojik açıdan değerlendirilen “ektopik gebelik (dış gebelik)” ile karıştırılmamalıdır. Ektopik gebelikte embriyo, çeşitli nedenlerden ötürü rahim dışına implante olmaktadır ve bu yüzden gelişimini sağlıklı olarak tamamlayamayacaktır. Keza annenin sağlığını da olumsuz etkileyebilmektedir.
Ektogenez Sürecinde Yapay Rahim Nedir?
Yapay rahmin temel işlevi, fetüsün sağlıklı gelişimi için gerekli olan besin ve oksijeni bir kaynaktan almak ve atık maddeleri etkili bir şekilde rahim ortamından uzaklaştırmak olarak ifade edilebilmektedir. Bu temel ihtiyaçların giderilmesi için plasenta benzeri bir arayüze ihtiyaç duyulabilmektedir. Bu bağlamda, plasenta benzeri bir arayüz, fetüsün sağlıklı gelişimine yönelik besin ve oksijen teminini sağlayarak yapay rahim teknolojisinin başarılı bir şekilde çalışabilmesini mümkün kılmaktadır.[2]

Ektogenez Sürecindeki Sentetik Embriyo Nedir?
Sentetik embriyo, geleneksel üreme yöntemleri kullanılmadan laboratuvar ortamında oluşturulan bir embriyo türüdür. Sentetik embriyo çalışmaları genellikle embriyonik kök hücreler veya pluripotent kök hücre türleri kullanılarak gerçekleştirilmektedir. Bu kök hücreler, çeşitli hücre tiplerine göre farklılaşarak embriyonun herhangi bir hücresini oluşturabilen hücrelerdir. Ayrıca sentetik embriyo, döllenme sürecinde sperm ve yumurta hücrelerinin bir araya toplanmasını gerektirmeden laboratuvar koşullarında üretilebilme özelliğini de taşımaktadır. Sentetik embriyo üretme çalışmaları, embriyonun gelişim sürecini daha iyi anlamak, hücre farklılaşmalarını inceleyebilmek ve hücresel tedaviler için veri sağlamak konusunda da etkili olmaktadır.
Sentetik Embriyo Çalışmaları Nelerdir?
2022 yılında İsrail'deki Weizmann Enstitüsündeki Jacob Hanna ve ekibi , farelerin kök hücrelerinden erken embriyo benzeri yapılar oluşturmanın mümkün olabileceğini keşfettiler. Bu sentetik embriyolar; sperm, yumurta veya döllenmeye ihtiyaç duymaksızın sadece embriyonik kök hücreler (İng: "embryonic stem cells") veya diğer kök hücreler yardımıyla yetiştirildi.[3]
Embriyonik kök hücreler, embriyonun iç hücre kütlesinden izole şekilde türetilen pluripotent (çeşitli hücre tiplerine farklılaşabilen erken safha embriyonik) kök hücrelerdir. Bu hücreler, sıklıkla döllenmeden sonraki ilk 4-5 gün içerisinde blastosist (embriyonun erken gelişim evresi) aşamasına ulaşan embriyolardan temin edilmektedir. Embriyonik kök hücrelerin türetilmesinde immünocerrahi (İng:"immunosurgery") teknikler kullanılmaktadır. Immünocerrahi, preimplantasyon dönemdeki embriyoların iç hücre kütlesi (embriyoblast) ayrıştırılması için kullanılan bir tekniktir. Ancak bu işlem genellikle iç hücre kütlesinin yanı sıra dış hücre kütlesinin (trofoektoderm) de bozulmasına buna bağlı olarak da embriyonun zarar görmesi ile sonuçlanabilmektedir.
Bazı hücreler, kimyasal işlemlerle önceden işlenerek plasenta veya yumurta kesesi gibi organları oluşturacak genetik programları harekete geçirebilirken diğer hücrelerse müdahale olmadan organlar ve diğer dokulara dönüşebilmektedir. Bu dönüşüm kök hücrelerin birçoğunda gerçekleşmemektedir. Yani kök hücrelerin sadece %0.5'i farklı dokuları oluşturan küçük yuvarlak hücre gruplarına dönüşebilmektedir. Kimyasal yollarla üretilen sentetik embriyolar bağırsak yolu, erken beyin, atan bir kalp ve embriyonun çevresindeki bir plasentaya sahiptirler. Araştırmadan önceki yıl aynı araştırma ekibi, bir mekanik rahim kullanılarak fare embriyolarının rahim dışında gelişimlerini sürdürdüğü çalışmalar yaptıklarını kamuoyuna duyurmuşlardı. Aynı cihaz, fare kök hücrelerinin yaklaşık bir hafta kadar beslenmesi için kullanılmıştır. Bu süre fareler için tipik bir gebelik süresinin yaklaşık olarak yarısına denk gelmektedir.
Özetle oluşturulan sentetik embriyolar, doğal fare embriyolarıyla karşılaştırıldığında iç yapıları ve hücrelerin genetik profilleri açısından %95 oranında benzerlik gösterdiği ortaya çıkmış ve araştırmacılar tarafından oluşan organların işlevsel olduğu görülmüştür.[4]

Kök Hücre Embriyo Modeli Nedir?
Ağustos 2022'de Cambridge Üniversitesinden bir ekip ve Weizmann Bilim Enstitüsünden bazı bilim insanları tarafından 10 yıllık çalışmanın sonucu olarak kök hücrelerin kullanımıyla sentetik bir embriyo oluşturuldu. Aynı zamanda bu embriyo, insan yumurtası veya spermi kullanılmadan geliştirilmesine rağmen doğal embriyonun özelliklerini barındırdı. Embriyolar, beynin ve atan kalbin de dahil olduğu erken organogenez (organ oluşumu) aşamasına kadar hayatta kaldılar. Embriyolar, in vitro (yapay) koşullarda büyütüldü ve daha sonra bir çalışmada ex utero yapay bir rahimde yetiştirildiler. Kültürlenmiş kök hücreler, erken memeli gelişiminde bulunan üç farklı doku tipini temsil edecek şekilde yönlendirildi ve etkileşimlerini artırarak kendi kendilerine bir embriyo oluşturacak şekilde bir araya getirildiler. Böylelikle üretilen fare embriyosu yalnızca bir beyin geliştirmekle kalmamış aynı zamanda atan bir kalp ve vücudun diğer sistemlerini de geliştirmişti. Yapılan çalışma daha sonra Hanna ve ekibi tarafından Nature dergisinde yayımlandı.[5]
Aslında maddi destek istememizin nedeni çok basit: Çünkü Evrim Ağacı, bizim tek mesleğimiz, tek gelir kaynağımız. Birçoklarının aksine bizler, sosyal medyada gördüğünüz makale ve videolarımızı hobi olarak, mesleğimizden arta kalan zamanlarda yapmıyoruz. Dolayısıyla bu işi sürdürebilmek için gelir elde etmemiz gerekiyor.
Bunda elbette ki hiçbir sakınca yok; kimin, ne şartlar altında yayın yapmayı seçtiği büyük oranda bir tercih meselesi. Ne var ki biz, eğer ana mesleklerimizi icra edecek olursak (yani kendi mesleğimiz doğrultusunda bir iş sahibi olursak) Evrim Ağacı'na zaman ayıramayacağımızı, ayakta tutamayacağımızı biliyoruz. Çünkü az sonra detaylarını vereceğimiz üzere, Evrim Ağacı sosyal medyada denk geldiğiniz makale ve videolardan çok daha büyük, kapsamlı ve aşırı zaman alan bir bilim platformu projesi. Bu nedenle bizler, meslek olarak Evrim Ağacı'nı seçtik.
Eğer hem Evrim Ağacı'ndan hayatımızı idame ettirecek, mesleklerimizi bırakmayı en azından kısmen meşrulaştıracak ve mantıklı kılacak kadar bir gelir kaynağı elde edemezsek, mecburen Evrim Ağacı'nı bırakıp, kendi mesleklerimize döneceğiz. Ama bunu istemiyoruz ve bu nedenle didiniyoruz.
Bu noktada araştırmacılar embriyonun implantasyon aşamasında gerçekleşen embriyonik gelişim sürecini ifade eden bir terim olan gelişimsel kara kutuyu (İng:"developmental black box") inceleyerek süreci insan embriyosunun gelişimine benzer bir şekilde yönetmeyi hedeflemektedir. Gelişimsel kara kutu döneminde, embriyo hücreleri hızla bölünmekte ve çeşitli hücresel farklılaşma süreçleri gerçekleşmektedir. Ancak, bu süreçlerin tam olarak nasıl gerçekleştiği ve embriyonun nasıl organize olduğu hala tam olarak anlaşılamadığından dolayı terim kara kutu şeklinde kullanılmaktadır. 2018 ve 2021 yıllarında aynı bileşen hücrelerini kullanarak daha erken olarak bir embriyo şeklinde gelişemeye başlayan sentetik embriyolar oluşturulmuştu ancak Hanna ve ekibi tarafından yapılan çalışma dünya çapında beyin gelişimine işaret eden ilk model olma özelliği açısından sentetik embriyo çalışmalarında kilit rol oynamaktadır.
Embriyonun oluşturduğu dokular ile anneye bağlayan dokular arasındaki etkileşim, gebelik sürecinin önemli bir parçasını oluşturmaktadır. Bu etkileşim, embriyonun annenin rahminde rahat bir şekilde gelişmesini sağlamak için gereklidir. Döllenme sonrasında üç farklı kök hücre türü gelişmektedir. Bunlar:
- Vücudun dokularını oluşturacak olanlar.
- Diğer ikisi ise embriyonun gelişimini destekleyenlerdir. Bu iki kök hücreden biri plasentayı oluşturarak fetüsün anneye oksijen ve besin sağlamasına yardımcı olurken diğeriyse embriyonun büyüdüğü yumurta sarısı kesesini oluşturmaktadır.
Ancak birçok hamilelik, üç farklı kök hücre türünün birbirleriyle iletişim kurduğu sırada başarısız olmaktadır. Dolayısıyla bu durum, embriyonik gelişim sürecinde uyumsuzlukları ve etkileşim eksikliklerinin var olduğunu göstermektedir.
Cambridge'deki araştırma grubu, on yıl boyunca bu çalışmaları yaparken aynı zamanda erken gebelik aşamalarını inceleyerek gebelikler sırasındaki bu etkileşimin neden başarısız olduğunu anlamak içinde çaba harcamıştır. Araştırmacılar, ekstraembriyonik (embriyonun kendisi dışında kalan ve ve embriyonun çevresel ihtiyacını karşılayan dokular) hücrelerin, embriyonik hücrelerle etkileşime girerken embriyonun gelişimini kimyasal sinyallerle ve dokunma yoluyla da mekanik olarak yönlendirdiğine dair önemli bir keşifte bulundular. Yani kök hücre modeli, embriyonun gelişimini taklit ederek embriyonun içerisindeki süreçler ve bu süreçlerin nasıl gerçekleşip hangi genlerin hangi aşamalarda etkili olduğunu anlamamıza yardımcı olmuştur. Bu noktada embriyo modeli çalışmalarında genel olarak embriyonik kök hücrelere odaklanılsa da ekstraembriyonik hücrelerlerin daha çok araştırılması gebelik sırasındaki etkileşimin neden başarısız olduğunu anlamamızda etkili bir etmendir.[6]
Ayrıca Uluslararası Kök Hücre Araştırmaları Derneği, araştırmacıların laboratuvarda doğal embriyoları yalnızca 14 gün boyunca geliştirilebileceğini belirten tarihi "14 gün kuralını" gevşetme yoluna giderek uzun vadeli çalışmalar için araştırmacılara onay verilmesinin de önünü açarak bu konuda daha kapsamlı araştırmaların yapılabilmesine yeşil ışık yakmıştır. Fakat hâlen insan embriyo modellerinin rahme implante edilmesi yasaktır.[7]
Özetle yapılan bu çalışmalar yapay organlar ve sentetik embriyolarında geliştirilmesinde dolaysıyla da yapay rahim teknolojilerinde önemli bir referans olmuştur.

Bir Yapay Rahmin Bileşenleri ve Özellikleri Nelerdir?
Yapay rahim, bazı durumlarda dış rahim (İng:"exowomb") olarak da adlandırılmaktadır. Fetüsün gelişimi için besin ve oksijen sağlamanın yanı sıra atık maddelerin uzaklaştırılmasını sağlayan bir sistem olma özelliğini taşımaktadır. Yapay bir uterusun sağladığı kapsama alanı birçok özelliği içerisinde barındırmaktadır ve genellikle plasenta ile aynı görevleri üstelenen yapay bir arayüz, amniyotik kese işlevi gören bir amniyotik tank ve ayrıca göbek kordonunu da içeren bileşenlere sahiptir.
Yapay rahim teknolojisi, temel olarak gebelik sürecini taklit ederek embriyonun gelişimini desteklemeyi amaçlamaktadır. Yapay rahim sistemleri, geleneksel neonatal yoğun bakım ünitelerinde kullanılan tıbbi cihazlara benzer şekilde tasarlanabilmektedir. Bu teknoloji; embriyonun gelişim süreci boyunca gereklilik gösteren uygun ortamı sağlamak için sıcaklık, nem, besin ve oksijen seviyelerini kontrol etmektedir.[8]
Yapay Rahmin Tarihsel Süreci Nasıldır?
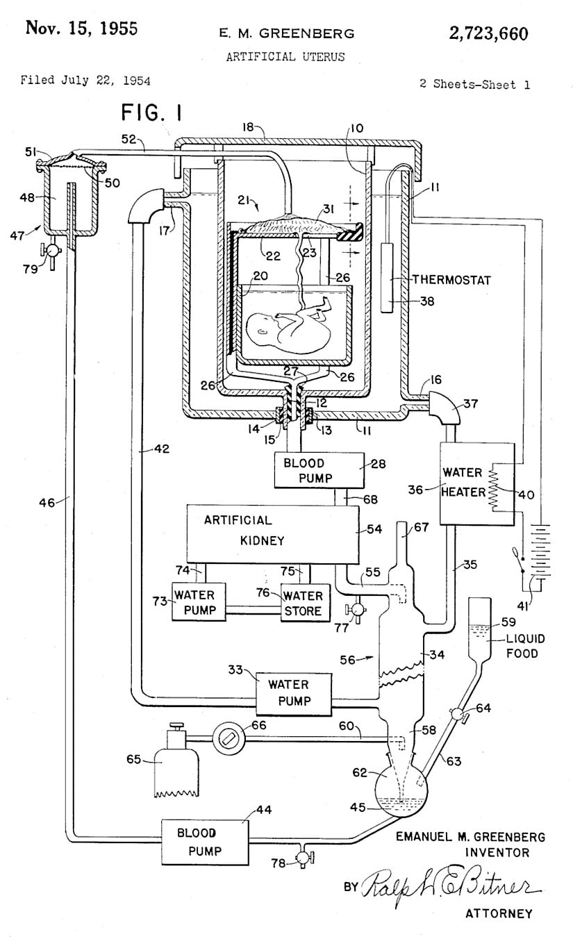
Emanuel M. Greenberg, yapay rahim teknolojisi üzerine çeşitli makaleler yazmış ve 22 Temmuz 1954'te yapay rahim tasarımına ilişkin bir patent başvurusunda bulunmuştur. Patent, fetüsün amniyotik sıvıyla dolu bir tankta gelişimini sağlamak için çeşitli bileşenleri içermekteydi. Bu bileşenler arasında bir makine, kan pompaları, yapay bir böbrek ve bir su ısıtıcısı bulunmaktaydı. Talep ettiği patent başvurusu 15 Kasım 1955'te kabul edilmiş ve patent Greenberg'e verilmiştir.[9]
1996'da Juntendo Üniversitesinde Yoshinori Kuwabara liderliğinde yürütülen bir proje kapsamında, rahim dışı fetal inkübasyon (İng:"extra-uterine fetal incubation") sistemi geliştirilmiştir. Proje kapsamında 14 keçi fetüsü, yapay amniyotik sıvıya yerleştirilerek anne keçi ile benzer koşullarda bırakılmıştır. Kuwabara ve ekibi, keçi fetüslerini üç hafta boyunca başarılı bir şekilde sistemin içinde tutmayı başarmışlardır. Ancak sistemde çıkabilecek olası sorunlar ve sistemin yeterince güvenilir olmadığı düşüncesi sebebiyle bu sistem, insanlar üzerinde test edilememiştir.[10]
2017 yılında Philadelphia Çocuk Hastanesi'ndeki araştırmacılar, rahim dışı fetal inkübasyon konusunda çeşitli keşiflerde bulundular. Çalışmada fetal kuzular, daha sonra yapay amniyotik sıvıyla dolu plastik bir torbaya yerleştirildi.[11] Geliştirilen sistem, pompasız arteriyovenöz devre, kapalı steril sıvı ortam ve göbek damar girişi olmak üzere üç ana bileşenden meydana gelmekteydi. Arteriyovenöz devre, fetal kalp tarafından yönlendirilen düşük dirençli bir oksijenatör ile birlikte kan akışını sağlamaktaydı. Göbek damar girişi için geliştirilen teknik, dekanülasyon olaylarını ve mekanik tıkanma riskini sınırlandırmaktaydı. Kuzuların göbek kordonu ise bir makineye bağlanarak besin tedariki ve atıkları uzaklaştırma görevlerini üstelenerek plasentaya benzer işlevleri sağlıyordu. Ayrıca araştırmacılar, kuzu fetüslerini anne koyunun kalp seslerini taklit eden bir ortamda yetiştirerek prematüre kuzu fetüslerinin bir ay boyunca doğal koşullara yakın bir biçimde gelişim göstermelerini sağladılar. Alan Flake liderliğindeki ekip, teknolojilerini prematüre insan fetüslerine uygulama sürecininse üç ila beş yıl kadar süreceğini ifade etmiştir.[12]

2021 yılına gelindiğindeyse kök hücre ve sentetik embriyo üzerine çalışmalarından da tanıdığımız Weizmann Bilim Enstitüsü tarafından mekanik bir rahim geliştirdi. Geliştirilen mekanik rahim, fare embriyolarını birkaç gün boyunca rahim dışında büyüttü. Ayrıca, aynı cihaz 2022'de fare kök hücrelerine bir haftadan fazla besin kaynağı sağlamış ve kök hücrelerden sentetik embriyoların geliştirilmesi için de kullanılmıştır.
Yapay Rahim Teknolojisinde Hangi Uygulama Alanları Vardır?
Yapay rahim teknolojisinin potansiyel uygulama sahası oldukça geniştir. Örneğin, prematüre bebeklerin gelişimlerine destek olmak amacıyla kullanılmaktadır. Prematüre doğumlar (normal gebelik süresi olan 40 haftadan önce gerçekleşen doğumlar), bebeklerin yaşama şansını azaltabilmekte ve uzun vadeli sağlık sorunlarına neden olabilmektedir. Yapay rahim teknolojisi, bu bebeklerin rahim dışında daha uzun süre gelişmelerine olanak tanıyarak yaşanabilecek komplikasyonları azaltmamakla birlikte fetüsün gelişimi açısından da destek sağlayabilmektedir. Örneğin rahminde problem olan bir bireyin yapay rahme bağlı olduğu durumlarda; rahmin temel işlevlerin yerine getirilmesi, besin sağlama ve atık ürünlerin uzaklaştırılması gibi kritik yaşamsal faaliyetlerin devamlılığını sağlamaktadır. Besin sağlama süreci, yapay rahim sisteminin fetüse gerekli besin maddelerini sağlayarak doğru şekilde fetüsün gereken enerjiyi alabilmesi için tasarlanmaktadır. Bu besin maddeleri genellikle özel bir besin solüsyon veya sıvı bir formda fetüsün ihtiyaçlarına uygun olarak üretilmektedir. Atık ürünlerin uzaklaştırılması sürecinde ise yapay rahim sistemi tarafından fetüsün sağlığını tehdit eden zararlı maddelerin birikmesini önlemektedir.
Ayrıca yapay rahim, IgG antikorlarının (vücudun enfeksiyonlarla savaşmasına ve yabancı antijenlere karşı bağışıklık oluşturmasını olanaklı kılan özel protein) fetüse geçmesiyle hastalıklara karşı bağışıklık koruması da sağlamaktadır. IgG antikorları, anneden plasentaya geçerek fetüsün doğum öncesinde veya doğum sırasında fetüsün kan dolaşımında bağışıklık sağlamaktadır. Bu durum, fetüsün doğumdan sonraki ilk aylarda hastalıklara karşı korunmasını sağlamaktadır.[13]
Yapay rahim teknolojisinin çeşitli işlevleri bulunmaktadır. Bunlardan bazıları:
- Atıkların fetüsten uzaklaştırılması için diyaliz gibi teknikler kullanılmasıdır. Bu durum, sağlıklı bir gelişim için önemlidir.
- Fetüsün gerekli oksijen miktarını alabilmesi ve karbondioksitin uzaklaştırılması için ekstrakorporeal membran oksijenizasyonu (hastanın kanının bir dış cihazda oksijen almasını ve karbondioksiti uzaklaştırmasını sağlayan yöntem) gibi mekanizmalar kullanılabilmesidir.
Ekstrakorporeal membran oksijenizasyonu, akciğerlerin işlevini geçici olarak üstlenerek solunum sorunları olan bebeklerin yaşamını desteklemektedir. Bu teknik, keçi fetüslerinin amniyotik tanklarda belirli bir süre boyunca canlı kalmasını sağlamıştır. Ayrıca bu yöntemin yoğun bakım ünitelerinde kullanılması akciğerleri problemli olan bebeklerin hayatta kalması içinde kullanılabilmektedir. Ekstrakorporeal membran oksijenizasyonun, gebeliğin 32. haftasından daha erken kullanılması intraventriküler kanama riski gibi çeşitli komplikasyonlara neden olabilmektedir.[14], [15]
- Fetüsün beslenmesi konusunda ise mevcut tekniklerde problem yaşanılan kısımlar olsa da gelişimler devam etmektedir. Fetüsün beslenmesi konusundaki çalışmalar, pediatrik kısa barsak sendromu yaşayan bebeklerin tedavisinde total parenteral (hastanın ihtiyaç duyduğu besinlerin doğrudan damar yoluyla verilmesini ifade eden tedavi yöntemi) beslenmenin incelenmesinde yararlı olabilmektedir.[16]
- Yapay rahim teknolojisi embriyo veya fetüsün hormonal dengesinin sağlanmasının incelenmesi açısından da önemlidir.
Bunların yanında yapay rahim teknolojisi; fetüsün dolaşım sisteminde bulunabilecek hastalık, çevresel kirleticiler, ilaçlardan veya alkolden etkilenmeyen bir ortamda gelişebilmesine olanak tanımaktadır. Ayrıca, fetüse karşı yetersiz gebelik immün toleransından (anne vücudunun gebelik sırasında fetusu kabul etme yeteneği) kaynaklanabilecek immün reaksiyon risklerini de azaltmaktadır.

Yapay Bir Rahim Duvarı ve Yapay Bir Plasenta Birlikte Çalışabilir mi?
Normal şartlardaki gebelik sürecinde miyometriyum ve endometriyum gibi bileşenler kritik rol oynamaktadır. Miyometriyum; rahim duvarını oluşturan düz kastır, genellikle doğum ve hacim için gereken kasılmaları ve genişlemeleri sağlayarak fetüsün dışarı atılmasını sağlamaktadır.[17] Endometriyum ise rahmin iç kısmını oluşturarak rahmin iç boşluğunu döşeyen epitel dokudur. Hamilelikte, endometriyum plasentanın oluşumunda görev üstlenmektedir.[18] Yapay rahim teknolojisinin ise doğal rahmin işlevlerini taklit ederek bu işlevlere eşdeğer bileşenler içermesi gerekmektedir. Yani yapay bir rahim de yapay bir plasenta bileşenin hatta miyometriyum ve endometriyum gibi bileşenlerinde bulunması önem arz etmektedir. Yapay plasentanın, doğal plasentanın işlevini yerine getirerek fetüsün beslenmesi, oksijen alışverişi ve atık maddelerin uzaklaştırılması gibi görevleri gerçekleştirmesi beklenmektedir. Ayrıca yapay rahim teknolojisi üzerine yapılan araştırmalarda, yapay plasentayı ve diğer iç bileşenleri doğrudan dış dolaşıma bağlamak için yöntemler üzerinde de çalışılmaktadır.
Tedavi edici fonksiyonları da barındıran yapay bir rahim, fetüs ile tedarikçi arasında bir arayüz sağlarken yarı geçirgen membranlar gibi özel bileşenler de kullanabilmektedir. Örneğin, ekstrakorporeal membran oksijenizasyonun da fetüsün ihtiyaç duyduğu oksijen ve besin maddelerini sağlamak amacıyla tercih edilmektedir. Ayrıca, insan endometriyal hücrelerinin kullanılmasıyla plasentanın yapay olarak yetiştirilme potansiyeli de bulunmaktadır.[19]
Buna verilebilecek bir örnek 2002 yılında, insan donörlerden alınan kültürlenmiş endometriyal hücrelerden oluşan doku örneklerinin başarıyla çoğaltıldığının bildirilmesidir. Devamındaki süreçte bu doku örnekleri doğal bir rahim yapısını taklit edecek şekilde tasarlanarak embriyolar bu dokuya başarılı bir şekilde implante edilmiştir.[20] Ancak bu deneyler, Amerika Birleşik Devletleri'nde geçerli olan in vitro fertilizasyon yasalarının izin verilen sınırlarına uyum sağlamaması sebebiyle başlandıktan sadece altı gün sonra durdurulmuştur. Özetle insan plasentasının teorik olarak yapay bir rahim içine nakledilmesi mümkündür. Ancak bu çerçevede bazı etik sınırlamalar ve teknolojik zorluklar da bulunmaktadır.[21]
Amniyotik Tank Nedir? Neden Kullanılmaktadır?
Amniyotik tank, amniyotik kesenin (İng:"artificial amniotic sac") fetüsü fiziksel olarak koruması ve serbestçe hareket etmesine izin vermesi amacıyla tasarlanmaktadır. Bu tank aynı zamanda, optimal sıcaklığın korunması işlevini de sağlamaktadır. Amniyotik tanklar doğal amniyotik sıvı yerine genellikle laktatlı Ringer solüsyonu gibi özel sıvılarla doldurulmakatdır, böylece amniyotik sıvının doğal yapısını taklit edilerek fetüs için uygun bir ortam sağlanabilmektedir. Laktatlı ringer solüsyonu elektrolit dengesini korurken fetüsün çevresel değişikliklere karşı korunmasını da sağlamaktadır.[22]

Yapay Rahim Nesli Tükenmekte Olan Canlılar İçin Bir Kurtuluş Yolu Olabilir mi?
Doğal yaşam alanlarının hızla azalarak bu alanlara insan müdahalesinin artması birçok türün neslinin tükenme tehlikesi altına girmesini sağlamaktadır. Çeşitli biyolojik ve çevresel faktörlerin etkisiyle canlı türleri, hayatta kalmakta ve bu koşullarla mücadele etmekte zorlanmaktadır. Ancak, teknolojinin ilerlemesiyle birlikte yapay rahim teknolojisi gibi inovatif teknolojiler, nesli tükenmekte olan canlı türlerinin korunması ve kurtarılması için umut vaat eden çözüm önerileri sunmaktadır. Doğurganlık teknolojilerinin gelişim göstermesiyle birlikte laboratuvar ortamında oluşturulan embriyoların taşıyıcı annelere aktarılması gibi yöntemler, nesli tükenmekte olan türlerin korunması için önemli bir araç haline gelmiştir.[23]
Özellikle yakın zamanda kuzey beyaz gergedanının (Ceratotherium simum cottoni) korunması için yapılan çalışmalarda bu teknolojilerin kullanımı ön plana çıkmıştır. Kuzey beyaz gergedanlarının nesillerinin tükenme süreci bir dizi olayın sonucunda meydana gelmiştir. Bu hayvanların boynuzları, geleneksel Çin tıbbında ve diğer kültürel uygulamalarda kullanılan bir malzeme olarak kabul edilmiştir. Bu nedenle de, kaçak avcılar tarafından avlanmış ve boynuzları ticari değerleri sebebiyle alınmıştır. Ayrıca yaşam alanları olan Orta Afrika'da bulunan savan bölgelerinin insan faaliyetleri sonucunda daralması ve yaşadıkları bölgelerdeki çatışma, kanunsuzluk ve kötü yönetim gibi sorunların yaygınlığı bu tür üzerinde yapılan korunma planlamalarının başarısız sonuçlanmasına sebebiyet vermiştir. Bu olayların bir sonucu olarak 19 Mart 2018'den bu yana dünya üzerinde Najin ve Fatu isimli yalnızca iki dişi birey hayatta kalmıştır. Bu iki dişi gergedan, Çek Cumhuriyeti'ndeki Dvůr Králové Hayvanat Bahçesi'nindir fakat Kenya'daki Ol Pejeta Koruma Alanı'nda yaşamaktadırlar. Uluslararası Doğayı Koruma Birliği'nin (IUCN) 2020 tarihli en son değerlendirmesine göre ise kuzey beyaz gergedan alttürü, Kritik Tehlikede (IUCN CR) veya muhtemelen Doğada Tükenmiş (IUCN EW) kategorisinde sınıflandırılmıştır.
Bilim insanları ise laboratuvarda üretilen kuzey beyaz gergedanı embriyolarını başarılı bir şekilde güney beyaz gergedanlarının (Ceratotherium simum simum) rahmine aktararak dünyanın ilk in vitro fertilizasyon tekniği kullanılarak yapılmış gergedan hamileliğini elde ettiler. Bu teknik, döllenmiş bir yumurtanın laboratuvar ortamında oluşturularak rahme yerleştirilmesini ele almaktadır. Bu başarı, türün korunması için umut verici bir adım olmuştur. Kuzey beyaz gergedanlarının neslinin tükenmesini önlemek amacıyla yürütülen bu koruma planlamaları, uluslararası bir konsorsiyum olan Biorescue projesi çerçevesinde yürütülmektedir. Almanya'daki Leibniz Hayvanat Bahçesi ve Yaban Hayatı Araştırma Enstitüsünden bilim insanları bu projede ortak olarak çalışmaktadır. Sonuç olarak bu teknoloji kuzey beyaz gergedanlarını korumak adına önemli bir koruma planlaması projesi olarak değerlendirilebilmektedir.[24]
Projedeki Etik Tartışmalar Nelerdir? Melezleşme Türdiriltimi Açısından Engel midir?
İnsan kaynaklı çevresel zararların telafi edilmesi düşüncesi kulağa hoş gelse de bir türün neslini yeniden döndürüp doğaya kazandırmak için yapılan müdahaleler kendi zorluklarını beraberinde getirmektedir. Projeye yönetilen eleştirilerin temelinde genellikle projenin mali durumu yatmaktadır. Kuzey beyaz gergedanlarını Afrika'ya geri döndürme çabaları yaklaşık olarak 40 yıl gibi uzun bir zaman alabilir. Bu periyot boyunca projeye finansman ve destek sağlanması gerekecektir ve gönüllü oluşumlarca gerçekleştirilen bu sürecin ne kadar uzun vadeli olacağı da tartışılmaktadır.
Pek çok inovatif yöntemin ilk olarak bu projede kullanılacak olması çeşitli soru işaretlerini doğurmaktadır. Örneğin, depolanmış sperm ve yumurtalarla embriyo oluşturması küçük bir gen havuzundan meydana geleceği için genetik hastalıklar gibi sorunların jenerasyonlar boyunca aktarılmasına yol açabileceği tahmin edilmektedir. Ayrıca proje, kuzey ve güney beyaz gergedanları arasında melezler oluşturmuş olacağı için tamamen yeni bir türün veya alttürün evrimleşmesine neden olarak kuzey beyaz gergedanlarının gerçek anlamda kurtarılıp kurtarılmadıkları konusundaki tartışmaları salık vermektedir. Melez bir bireyin, güney beyaz gergedanı ebeveyninden farklı davranış ve genetik özellikleri alabileceği göz önüne alındığında, türler arası hibridizasyon da dikkate alınması gereken bir etmendir.[25]
Sonuç olarak proje üzerinde çeşitli etik tartışmalar ve zorluklar bulunsa da doğurganlık alanındaki yeni teknolojilerin, nesli tükenmekte olan canlı türlerinin korunması ve kurtarılmasında önemli bir rol oynayacağını ön görebilmek mümkündür. Özellikle, kuzey beyaz gergedanının kurtarılması için yapılan çalışmalarda, yapay rahim teknolojisi gibi teknolojiler ve inovatif yöntemlerin kullanımı önemli yer tutmaktadır.

Türdiriltimi Sürecinde Yapay Rahim Etkili Olabilir mi?
Bilimde yaşanan gelişmeler ve türdiriltimi (İng: "de-exctintion") teknolojilerinin ilerlemesi sayesinde nesli tükenen canlıların neslini döndürmek üzerine araştırmalar da hızla artmıştır. Bu misyonla, MIT ve Harvard Üniversitesinde genetikçi olan George Chruch önderliğinde kurulan Colossal Biosciences isimli şirket; nesli tükenmiş bazı kuş türleri, yünlü mamutlar ve Tazmanya kaplanı gibi birçok nesli tükenmiş canlı türü üzerinde türdiriltimi çalışmalarında bulunmaktadır.
Üzerinde türdiriltimi çalışmaları gerçekleştirilen türlerden biri olan Tazmanya kaplanlarının (Thylacinus cynocephalus) neslinin döndürülmesinde yapay rahim teknolojilerini de etkili olabilir. Tazmanya kaplanlarının türdiriltimi süreci çeşitli zorlukları ve problemleri de beraberinde getirmektedir. Bu sorunların arasında Tazmanya kaplanlarının keseli canlılar olması başı çekmektedir. Dolayısıyla Tazmanya kaplanlarının türdiriltimi sürecinde elverişli taşıyıcı anneler bulunmamasına sebep olmaktadır. Var olan sorunların aşılabilmesi içinde çalışmalar devam etmektedir. Bu sorunun çözülmesinde yapay rahim teknolojilerinin önemli bir rol oynaması da beklenmektedir.
Sonuç
Sonuç olarak yapay rahim teknolojisi üzerine yapılan araştırmalar, insan sağlığı ve üreme konusundaki bilgi birikimimizi genişletmektedir. Ancak bu teknolojinin etik, hukuksal ve sosyal boyutlarıyla ilgili detaylı tartışmaların yapılması ve konu hakkındaki araştırmaların dikkate alınması gerekmektedir. Ayrıca bu teknoloji, nadir ve nesli kritik derecede tehlike altında olan türlerin üreme süreçlerini laboratuvar ortamında yöneterek, popülasyonlarının korunmasına yardımcı olabilmektedir. Gelecekte bu teknolojinin daha verimli biçimde uygulanmasıyla birlikte, insan sağlığı ve üreme konusunda yeni atılımların gerçekleşmesi muhtemeldir.
Evrim Ağacı'nda tek bir hedefimiz var: Bilimsel gerçekleri en doğru, tarafsız ve kolay anlaşılır şekilde Türkiye'ye ulaştırmak. Ancak tahmin edebileceğiniz gibi Türkiye'de bilim anlatmak hiç kolay bir iş değil; hele ki bir yandan ekonomik bir hayatta kalma mücadelesi verirken...
O nedenle sizin desteklerinize ihtiyacımız var. Eğer yazılarımızı okuyanların %1'i bize bütçesinin elverdiği kadar destek olmayı seçseydi, bir daha tek bir reklam göstermeden Evrim Ağacı'nın bütün bilim iletişimi faaliyetlerini sürdürebilirdik. Bir düşünün: sadece %1'i...
O %1'i inşa etmemize yardım eder misiniz? Evrim Ağacı Premium üyesi olarak, ekibimizin size ve Türkiye'ye bilimi daha etkili ve profesyonel bir şekilde ulaştırmamızı mümkün kılmış olacaksınız. Ayrıca size olan minnetimizin bir ifadesi olarak, çok sayıda ayrıcalığa erişim sağlayacaksınız.
Makalelerimizin bilimsel gerçekleri doğru bir şekilde yansıtması için en üst düzey çabayı gösteriyoruz. Gözünüze doğru gelmeyen bir şey varsa, mümkünse güvenilir kaynaklarınızla birlikte bize ulaşın!
Bu makalemizle ilgili merak ettiğin bir şey mi var? Buraya tıklayarak sorabilirsin.
Soru & Cevap Platformuna Git- 4
- 4
- 4
- 3
- 3
- 3
- 1
- 0
- 0
- 0
- 0
- 0
- ^ Future Of Human Reproduction. Ectogenesis. Alındığı Tarih: 20 Şubat 2024. Alındığı Yer: Future Of Human Reproduction | Arşiv Bağlantısı
- ^ F. M. Bulletti, et al. (2023). The Artificial Uterus: On The Way To Ectogenesis. Zygote, sf: 457-467. doi: 10.1017/S0967199423000175. | Arşiv Bağlantısı
- ^ I. Sample. Scientists Create World’s First ‘Synthetic Embryos’. (3 Ağustos 2022). Alındığı Tarih: 20 Şubat 2024. Alındığı Yer: the Guardian | Arşiv Bağlantısı
- ^ S. Tarazi, et al. (2022). Post-Gastrulation Synthetic Embryos Generated Ex Utero From Mouse Naive Escs. Elsevier BV, sf: 3290-3306.e25. doi: 10.1016/j.cell.2022.07.028. | Arşiv Bağlantısı
- ^ S. C. J. Garget. ‘Synthetic’ Embryo With Brain And Beating Heart Grown From Stem Cells. (25 Ağustos 2022). Alındığı Tarih: 20 Şubat 2024. Alındığı Yer: University of Cambridge | Arşiv Bağlantısı
- ^ G. Amadei, et al. (2022). Embryo Model Completes Gastrulation To Neurulation And Organogenesis. Nature, sf: 143-153. doi: 10.1038/s41586-022-05246-3. | Arşiv Bağlantısı
- ^ C. Y. Johnson. Scientists Create Synthetic Mouse Embryos, A Potential Key To Healing Humans. Alındığı Tarih: 20 Şubat 2024. Alındığı Yer: The Washington Post | Arşiv Bağlantısı
- ^ C. Willyard. Everything You Need To Know About Artificial Wombs. Alındığı Tarih: 20 Şubat 2024. Alındığı Yer: MIT Technology Review | Arşiv Bağlantısı
- ^ World Wide Espacenet. Espacenet. Alındığı Tarih: 20 Şubat 2024. Alındığı Yer: World Wide Espacenet | Arşiv Bağlantısı
- ^ Y. Kuwabara, et al. (2008). Development Of Extrauterine Fetal Incubation System Using Extracorporeal Membrane Oxygenator. Wiley, sf: 224-227. doi: 10.1111/j.1525-1594.1987.tb02663.x. | Arşiv Bağlantısı
- ^ E. A. Partridge, et al. (2017). An Extra-Uterine System To Physiologically Support The Extreme Premature Lamb. Nature Communications, sf: 1-16. doi: 10.1038/ncomms15112. | Arşiv Bağlantısı
- ^ R. Stein. Scientists Create Artificial Womb That Could Help Prematurely Born Babies. (25 Nisan 2017). Alındığı Tarih: 20 Şubat 2024. Alındığı Yer: NPR | Arşiv Bağlantısı
- ^ C. Bulletti, et al. (2011). The Artificial Womb. Wiley, sf: 124-128. doi: 10.1111/j.1749-6632.2011.05999.x. | Arşiv Bağlantısı
- ^ V. Bautista-Hernandez, et al. (2009). Preoperative Extracorporeal Membrane Oxygenation As A Bridge To Cardiac Surgery In Children With Congenital Heart Disease. Elsevier BV, sf: 1306-1311. doi: 10.1016/j.athoracsur.2009.06.074. | Arşiv Bağlantısı
- ^ A. H. Jobe. (2004). Post-Conceptional Age And Ivh In Ecmo Patients. Elsevier BV, sf: A2. doi: 10.1016/j.jpeds.2004.07.010. | Arşiv Bağlantısı
- ^ A. U. Spencer, et al. (2005). Pediatric Short Bowel Syndrome. Annals of Surgery, sf: 403-412. doi: 10.1097/01.sla.0000179647.24046.03. | Arşiv Bağlantısı
- ^ H. N. Aguilar, et al. (2010). Physiological Pathways And Molecular Mechanisms Regulating Uterine Contractility. Human Reproduction Update, sf: 725-744. doi: 10.1093/humupd/dmq016. | Arşiv Bağlantısı
- ^ D. Emera, et al. (2011). The Evolution Of Menstruation: A New Model For Genetic Assimilation. Wiley, sf: 26-35. doi: 10.1002/bies.201100099. | Arşiv Bağlantısı
- ^ M. Sakata, et al. (1998). A New Artificial Placenta With A Centrifugal Pump: Long-Term Total Extrauterine Support Of Goat Fetuses. The Journal of Thoracic and Cardiovascular Surgery, sf: 1023-1031. doi: 10.1016/S0022-5223(98)70401-5. | Arşiv Bağlantısı
- ^ M. Fayazi, et al. Characteristics Of Human Endometrial Stem Cells In Tissue And Isolated Cultured Cells: An Immunohistochemical Aspect. Alındığı Tarih: 20 Şubat 2024. Alındığı Yer: National Library of Medicine doi: 10.7508/ibj.2016.02.006. | Arşiv Bağlantısı
- ^ Will Cornell Medicine. Ronald O. Perelman And Claudia Cohen Center For Reproductive Medicine | Weill Cornell Medicine. Alındığı Tarih: 20 Şubat 2024. Alındığı Yer: Will Cornell Medicine | Arşiv Bağlantısı
- ^ E. J. Verweij, et al. (2021). Ethical Development Of Artificial Amniotic Sac And Placenta Technology: A Roadmap. Frontiers in Pediatrics, sf: 793308. doi: 10.3389/fped.2021.793308. | Arşiv Bağlantısı
- ^ G. S. Reporter. Ivf Is Best Chance To Save Endangered Northern White Rhino, Scientists Say. (28 Ocak 2015). Alındığı Tarih: 20 Şubat 2024. Alındığı Yer: the Guardian | Arşiv Bağlantısı
- B. R. M. A. A. Francis. World's First Ivf Rhino Pregnancy 'Could Save Species'. (24 Ocak 2024). Alındığı Tarih: 20 Şubat 2024. Alındığı Yer: BBC News | Arşiv Bağlantısı
- ^ N. Scharping. Northern White Rhinos Are Almost Gone. Should Scientists Bring Them Back?. (11 Mayıs 2021). Alındığı Tarih: 24 Şubat 2024. Alındığı Yer: Discover Magazine | Arşiv Bağlantısı
- Y. P. Cruz, et al. (1993). Mouse Blastocyst Immunosurgery With Commercial Antiserum To Mouse Erythrocytes. In Vitro Cellular & Developmental Biology - Animal, sf: 671-675. doi: 10.1007/BF02634557. | Arşiv Bağlantısı
Evrim Ağacı'na her ay sadece 1 kahve ısmarlayarak destek olmak ister misiniz?
Şu iki siteden birini kullanarak şimdi destek olabilirsiniz:
kreosus.com/evrimagaci | patreon.com/evrimagaci
Çıktı Bilgisi: Bu sayfa, Evrim Ağacı yazdırma aracı kullanılarak 04/10/2025 12:04:06 tarihinde oluşturulmuştur. Evrim Ağacı'ndaki içeriklerin tamamı, birden fazla editör tarafından, durmaksızın elden geçirilmekte, güncellenmekte ve geliştirilmektedir. Dolayısıyla bu çıktının alındığı tarihten sonra yapılan güncellemeleri görmek ve bu içeriğin en güncel halini okumak için lütfen şu adrese gidiniz: https://evrimagaci.org/s/16673
İçerik Kullanım İzinleri: Evrim Ağacı'ndaki yazılı içerikler orijinallerine hiçbir şekilde dokunulmadığı müddetçe izin alınmaksızın paylaşılabilir, kopyalanabilir, yapıştırılabilir, çoğaltılabilir, basılabilir, dağıtılabilir, yayılabilir, alıntılanabilir. Ancak bu içeriklerin hiçbiri izin alınmaksızın değiştirilemez ve değiştirilmiş halleri Evrim Ağacı'na aitmiş gibi sunulamaz. Benzer şekilde, içeriklerin hiçbiri, söz konusu içeriğin açıkça belirtilmiş yazarlarından ve Evrim Ağacı'ndan başkasına aitmiş gibi sunulamaz. Bu sayfa izin alınmaksızın düzenlenemez, Evrim Ağacı logosu, yazar/editör bilgileri ve içeriğin diğer kısımları izin alınmaksızın değiştirilemez veya kaldırılamaz.